Fig 1.3 shows healthcare spending by type for selected African countries in 2016. (a) Identify the country that does not receive any 'External' healthcare funding according to the bar chart. [1] (b) Calculate the difference in percentage points between the 'Private' and 'Government' healthcare spending for South Africa. [2] (c) Comment on the implications of a country having 0% 'External' funding, as shown for South Africa, regarding its economic independence in healthcare. [3]

Fig 1.2 shows a flowchart illustrating the fundamental economic problem. (a) Explain why understanding the concept of 'Scarcity' (as shown in the flowchart) is crucial for economists. [3] (b) Discuss how the flowchart, by illustrating 'Choice' and 'Opportunity cost', helps economists in making policy recommendations for resource allocation. [5]

Fig 1.3 shows a flowchart illustrating the fundamental economic problem. (a) Analyse how the concept of 'Opportunity cost', as the final outcome in the flowchart, directly influences the 'What to produce' decision for a country. [4] (b) Formulate how a government, confronted with 'Scarcity' (as shown in the flowchart), might use the principles of 'Choice' and 'Opportunity cost' to decide 'For whom to produce' in the context of public services versus private goods. [6]

All societies must decide 'what to produce', 'how to produce', and 'for whom to produce'. Different economic systems address these questions in distinct ways. (a) Compare the methods by which a planned economy and a market economy decide 'what to produce'. [6] (b) Discuss the potential benefits and drawbacks of a mixed economic system in addressing the fundamental economic questions. [6]
Governments regularly face difficult decisions about public spending, often having to choose between various worthy causes. (a) Discuss how the concept of opportunity cost applies to a government's decision to increase spending on education. [6] (b) Evaluate whether all choices necessarily involve an opportunity cost. [4]
Every society, regardless of its economic system, must address fundamental economic questions due to the problem of scarcity. (a) State the three fundamental economic questions faced by every society. [3] (b) Identify one characteristic of a market economy that helps answer the 'what to produce' question. [3]
The graph in Fig 1.1 illustrates the relationship between disposable income and spending on luxury goods for 20 households. (a) Analyse the relationship between disposable income and spending on luxury goods as shown in Fig 1.1. [4] (b) Suggest one reason why spending on luxury goods might not increase proportionally with disposable income for all income levels. [3]

Societies must decide how to allocate their limited resources to satisfy unlimited wants. (a) Explain the factors that influence a society's decision on 'what to produce'. [4] (b) Describe how a market economy typically answers the question of 'for whom to produce'. [4]
The fundamental economic problem arises because resources are scarce while human wants are unlimited. (a) Draw a Production Possibility Frontier (PPF) showing constant opportunity cost. [3] (b) Explain why a PPF with constant opportunity cost is rarely observed in reality. [3]
All societies face the fundamental economic problem of scarcity, requiring decisions about what to produce, how to produce, and for whom to produce. (a) Analyse how the allocation of scarce resources might differ between a centrally planned economy and a market economy. [10]
An economy faces choices regarding the allocation of its scarce resources between the production of agricultural goods and industrial goods. Fig 1.1 shows the production possibility frontier (PPC) for this economy. (a) Identify the economic system that would most likely lead to point X. [2] (b) Explain what the movement from point Y to point Z could represent in terms of 'how to produce'. [3] (c) Suggest one reason why an economy might operate inside its PPC, such as at point X. [2]

Healthcare expenditure data provides insight into resource allocation in different countries. Fig 1.3 shows the healthcare expenditure as a percentage of GDP for two African countries, Country A and Country B, from 2018 to 2022. (a) Calculate the percentage of GDP allocated to healthcare by Country A in 2020, based on Fig 1.3. [3] (b) Comment on the trend of healthcare expenditure as a percentage of GDP for Country B between 2018 and 2022, as shown in Fig 1.3, and suggest a possible reason for this trend. [4]

Fig 1.4 shows healthcare spending by type for selected African countries in 2016. (a) Calculate the percentage point difference in 'Government' healthcare spending between Namibia and Tanzania in 2016, and state which country spent more proportionally from this source. [3] (b) Evaluate the sustainability of healthcare funding in South Africa compared to Kenya, based on the proportions of 'Government', 'Private', and 'External' spending shown in the bar chart. [3] (c) Suggest one policy recommendation for a country like Tanzania, which has a significant reliance on 'External' funding, to improve its healthcare funding stability, referring to the specific percentages in the chart. [3]
All societies face the fundamental economic problem of scarcity. (a) Explain why scarcity necessitates choice. [4] (b) Illustrate the concept of opportunity cost using a production possibility frontier (PPF). [4]
Every society must answer the fundamental economic questions of what to produce, how to produce, and for whom to produce, given the scarcity of resources. (a) Analyse how technological advancements might influence a country's decision on 'how to produce'. [5] (b) Explain why the answer to 'for whom to produce' can be a source of social inequality. [4]
Fig 1.1 shows a flowchart illustrating the fundamental economic problem. (a) Analyse the fundamental relationship between 'Unlimited wants' and 'Limited resources' as depicted in the flowchart, explaining why both are necessary for 'Scarcity' to exist. [4] (b) Discuss how the flowchart illustrates the core components of the economic problem, justifying why 'Choice' and 'Opportunity cost' are inevitable outcomes of 'Scarcity'. [6]
Fig 1.4 shows healthcare spending by type for selected African countries in 2016. (a) Identify the country with the lowest percentage of 'External' healthcare funding and state its value from the bar chart. [2] (b) Calculate the average percentage of 'Government' healthcare spending across all five countries shown in the bar chart. [3] (c) Discuss one advantage of a high proportion of 'Government' healthcare spending, as seen in Namibia (60%), for ensuring equitable access to healthcare. [3]
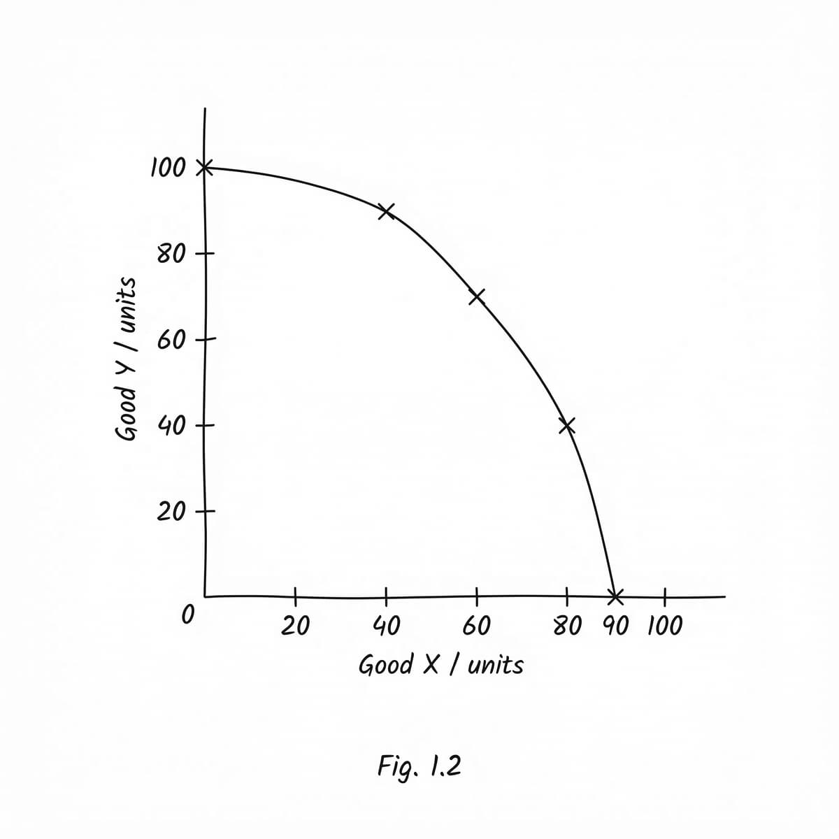
Fig. 1.2 displays a Production Possibility Frontier (PPF) for an economy producing two goods, Good X and Good Y. (a) Identify the maximum possible output of Good X shown in Fig. 1.2. [2] (b) Calculate the opportunity cost of increasing production of Good X from 40 units to 60 units, in terms of Good Y, using Fig. 1.2. [2] (c) Explain what a point inside the PPF in Fig. 1.2 would represent. [2]

Fig. 1.1 shows the percentage change in demand for selected goods in a developed economy between 2010 and 2020. (a) Identify the good with the highest percentage increase in demand between 2010 and 2020, according to Fig. 1.1. [2] (b) Explain how the data in Fig. 1.1 illustrates the concept of unlimited wants. [3] (c) Suggest one possible reason for the change in demand for 'luxury vacations'. [2]

Fig 1.1 shows a flowchart illustrating the fundamental economic problem. (a) Identify the ultimate consequence of the fundamental economic problem according to the flowchart. (b) Explain how the interaction of 'Limited resources' and 'Unlimited wants' necessitates the sequence of 'Scarcity', 'Choice', and 'Opportunity cost' as presented in the flowchart.
Fig 1.2 shows a country's production possibility frontier (PPF) for agricultural and industrial goods. (a) Analyse the implications of the shift in the production possibility frontier shown in Fig 1.2 for the question of 'what to produce'. [3] (b) Suggest one possible reason for the shift from PPF1 to PPF2 in Fig 1.2. [3]

Fig 1.2 shows a flowchart illustrating the fundamental economic problem. (a) Evaluate whether 'Limited resources' alone would lead to the economic problem if 'Unlimited wants' did not exist, using the flowchart as a reference. [4] (b) Propose a scenario where a society might theoretically overcome the fundamental economic problem, justifying your answer by referring to the elements of the flowchart. [6]
Individuals and societies constantly face decisions about how to allocate their limited resources. (a) Define opportunity cost. [2] (b) Give two examples of opportunity cost faced by an individual. [3]
Fig 1.2 shows healthcare spending by type for selected African countries in 2016. (a) Calculate the total percentage of 'Government' and 'External' funding for Tanzania and determine if it is greater or less than its 'Private' funding percentage. [3] (b) Compare the reliance on 'Private' funding between Kenya and South Africa, stating the percentage difference. [3] (c) Analyse how a country like South Africa (0% 'External' funding) might achieve greater stability in healthcare funding compared to Ethiopia (40% 'External' funding), based on the information in the bar chart. [3]
The fundamental economic problem arises from the scarcity of resources relative to unlimited human wants. Economic growth is often seen as a solution to this problem. (a) Analyse the relationship between unlimited wants and the concept of economic growth. [5] (b) Assess the extent to which cultural factors influence the nature and variety of human wants. [5]
Individuals and societies frequently face difficult decisions about how to allocate their scarce resources. (a) Define opportunity cost. [2] (b) Give two examples of opportunity cost faced by a student deciding whether to attend university. [3]
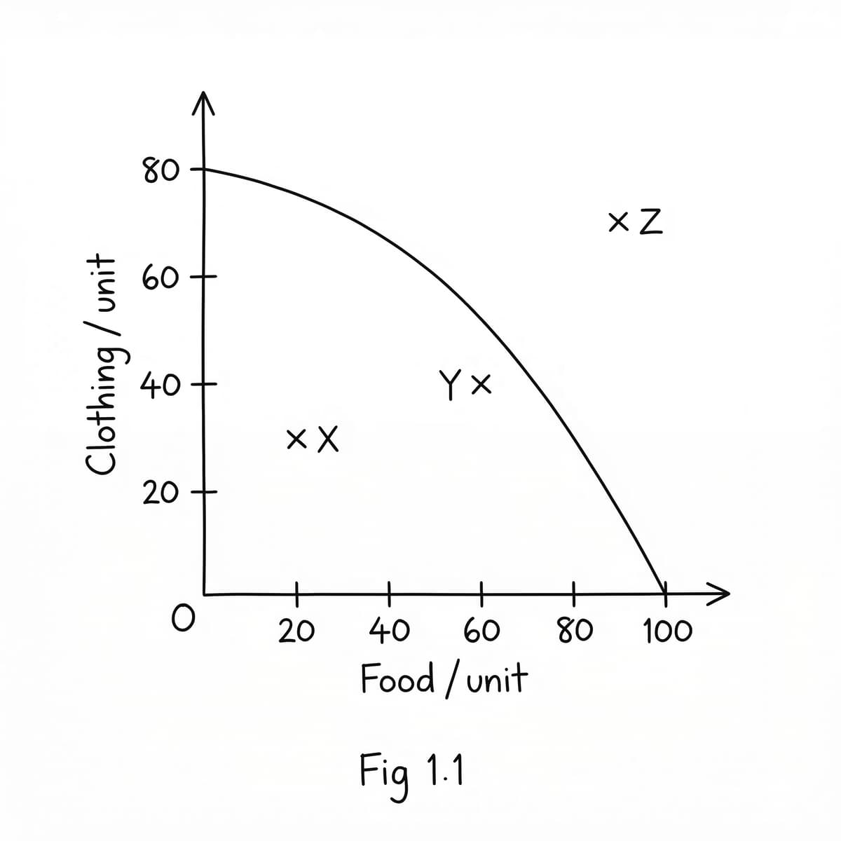
An economy faces scarcity, meaning it has limited resources to satisfy unlimited wants. This leads to fundamental choices about what to produce. Fig 1.1 shows a production possibility frontier (PPF) for an economy producing Food and Clothing. (a) Use the PPF in Fig 1.1 to explain why an economy cannot produce at a point outside its current frontier. [3] (b) Identify a point on Fig 1.1 that represents inefficient resource allocation and explain why. [3]

The concept of unlimited human wants is central to the fundamental economic problem, driving consumption and production decisions in all economies. (a) Explain why human wants are considered unlimited. [4] (b) Outline how advertising might contribute to the expansion of consumer wants. [4]
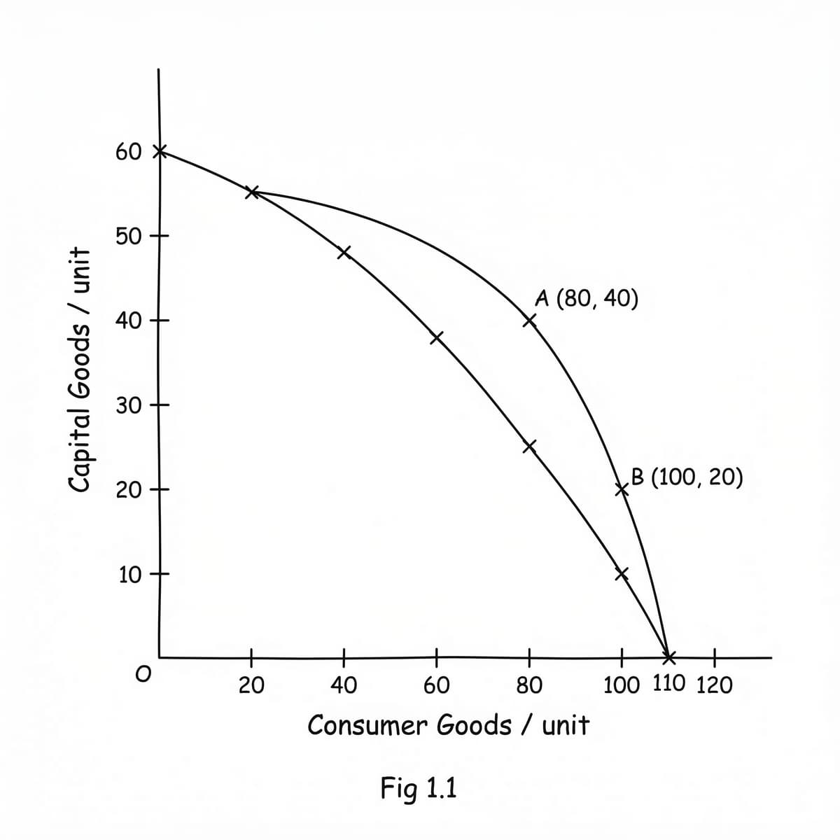
Fig 1.1 shows a production possibility frontier (PPC) for an economy producing consumer goods and capital goods. (a) Identify the opportunity cost of increasing production of consumer goods from 40 units to 50 units. [2] (b) Calculate the opportunity cost of moving from point B to point A on the PPC. [3] (c) Explain what a shift outwards of this PPC would represent. [4]

Different economic systems adopt varied approaches to address the fundamental economic questions. (a) Describe how a command economy typically answers the question 'how to produce'. [4] (b) Explain the role of the price mechanism in answering the 'for whom to produce' question in a market economy. [4]
Fig 1.1 shows a production possibility frontier (PPF) for an economy producing capital goods and consumer goods. (a) Identify the opportunity cost of increasing capital goods production from 20 units to 40 units based on Fig 1.1. [3] (b) Calculate the change in consumer goods production if the economy moves from point A to point B on the PPF shown in Fig 1.1, and explain the implication for opportunity cost. [4]

All countries face the fundamental economic problem of scarcity, requiring choices to be made and incurring opportunity costs. (a) Sketch a production possibility frontier (PPC) for a country producing two goods, 'Food' and 'Clothing', illustrating the concept of increasing opportunity cost. [5] (b) Explain why the PPC you have drawn in (a) is typically bowed outwards. [5]
Governments in African countries, like all governments, must make difficult choices about how to allocate their limited financial resources. (a) Outline the concept of opportunity cost in the context of a government's decision to fund healthcare. [4] (b) Explain how a limited tax base can exacerbate healthcare funding issues in some African countries. [5]
Fig 1.1 shows a flowchart illustrating the fundamental economic problem and its consequences. (a) Explain why 'Choice' is an inevitable outcome of 'Scarcity' as illustrated in the flowchart. [3] (b) Analyse the direct link between 'Choice' and 'Opportunity cost' in the flowchart, providing an example of how a choice leads to an opportunity cost. [5]
Scarcity is a fundamental concept in economics, influencing all decisions made by individuals, firms, and governments. (a) Explain why scarcity leads to the need for choice. [4] (b) Illustrate the concept of opportunity cost using a simple numerical example. [4]
Fig 1.2 shows healthcare spending by type for selected African countries in 2016. (a) Identify the country with the highest proportion of 'Private' healthcare spending and state its percentage from the bar chart. [2] (b) Calculate the total percentage of 'Government' and 'Private' spending for Kenya and compare it to the equivalent total for Ethiopia, using the specific values from the bar chart. [3] (c) Discuss the potential economic implications of a high reliance on 'Private' healthcare spending, as seen in South Africa (55%), for income inequality within the country. [4]
Governments frequently face difficult decisions regarding public spending, often having to choose between competing projects. (a) Discuss how the concept of opportunity cost applies to a government's decision to fund a new railway line instead of a new hospital. [5] (b) Evaluate the difficulties in calculating opportunity cost in real-world scenarios. [5]
Different economic systems approach the fundamental economic questions in distinct ways. (a) Compare how a command economy and a market economy address the question of 'how to produce'. [6] (b) Discuss the potential benefits and drawbacks of allowing consumer preferences to dictate 'what to produce'. [6]
Fig 1.1 shows a flowchart illustrating the fundamental economic problem. (a) Identify the two core elements leading to scarcity from the flowchart. [1] (b) Explain how the interaction of 'Unlimited wants' and 'Limited resources' shown in the flowchart results in 'Scarcity'. [2] (c) State the immediate consequence of 'Scarcity' as illustrated in the flowchart and briefly explain its meaning. [2]
The fundamental economic problem of scarcity affects all countries, but its implications can vary significantly depending on a nation's level of development. (a) Discuss the implications of the fundamental economic problem for developing countries. [5] (b) Evaluate whether technological advancements can fully eliminate the problem of scarcity. [5]
Scarcity, choice and opportunity cost · Economics
Upgrade to Pro to upload images of your work.