Physical quantities are fundamental to the description and understanding of the physical world. (a) Distinguish between a scalar quantity and a vector quantity, providing an example for each. [4] (b) Give three examples of physical quantities that are fundamental in physics. [3]
All derived units can be expressed in terms of the seven SI base units. This process helps in checking the homogeneity of physical equations. (a) Show that the SI base units of force (newton) are kg m s⁻². [4] (b) Determine the SI base units of power, given that power is the rate of doing work. [4]
Physical quantities are often expressed using prefixes to denote multiples or submultiples of SI units. (a) Describe the general rules for using prefixes with SI units, such as kilo- or micro-. [4] (b) Illustrate how ambiguity can arise if a capital 'M' is used for 'milli' instead of 'mega' and give an example. [4]
In an experiment to measure the period of oscillation of a simple pendulum, a student uses a stopwatch. (a) Identify three common sources of random errors in an experiment involving the measurement of time. [3] (b) Describe how taking multiple readings and calculating an average can reduce the effect of random errors. [4]
A student investigates the relationship between voltage V and current I for a resistive component. The student records the following data:
| Current I / A | Voltage V / V | Absolute uncertainty in V / V |
|---|---|---|
| 0.10 | 0.52 | ±0.03 |
| 0.20 | 1.05 | ±0.03 |
| 0.30 | 1.55 | ±0.04 |
| 0.40 | 2.10 | ±0.04 |
| 0.50 | 2.60 | ±0.05 |
The absolute uncertainty in current is negligible. (a) Plot a graph of V (y-axis) against I (x-axis), including error bars for voltage. [4] (b) Determine the gradient of the graph and its absolute uncertainty. [4] (c) Calculate the percentage uncertainty in the resistance, R, using the gradient from (b), given R = V/I. [4]
A student performs an experiment to measure the mass of a known standard mass. The known mass is 10.00 g. The student records five measurements using a digital balance. (a) Analyse the following five measurements: 9.95 g, 9.97 g, 9.96 g, 9.94 g, 9.98 g. Comment on the accuracy and precision of these measurements. [6] (b) Suggest two ways to improve both the accuracy and precision of these measurements. [4]
A student needs to measure the length of a classroom desk for an experiment. They have access to both a metre rule and a digital Vernier caliper. (a) Compare the suitability of using a metre rule versus a digital Vernier caliper for measuring the length of the desk, considering aspects of accuracy and precision. [6] (b) Evaluate the impact of choosing an instrument with insufficient precision on the overall uncertainty of an experiment, giving an example. [5]
Vectors can be split into components to simplify analysis. (a) Define what is meant by the resolution of vectors. [2] (b) State the two conditions that must be met by the components of a resolved vector. [3]
The radius, r, of a sphere is measured as (2.50 ± 0.05) cm. The formula for the volume of a sphere is V = (4/3)πr³. (a) Calculate the percentage uncertainty in the volume of the sphere. [5] (b) Determine the absolute uncertainty in the calculated volume. [4]
When measuring physical quantities in an experiment, it is crucial to understand the types of errors that can occur. (a) Outline what is meant by a zero error. [3] (b) Draw a sketch of a protractor scale that exhibits a positive zero error. [3]
A hiker walks across varied terrain, moving from a starting point to a final destination. (a) Compare distance and displacement, identifying which is a scalar and which is a vector. [4] (b) Evaluate a situation where understanding the vector nature of a quantity (e.g., velocity) is critical, providing a practical example. [6]
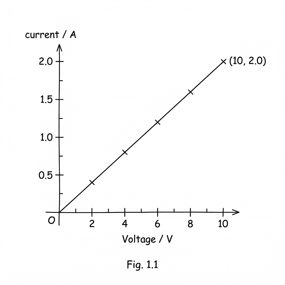
An experiment is conducted to measure a constant voltage over a period of time. The results are plotted in Fig. 1.1. (a) Describe the pattern of the data points shown in Fig. 1.1 and relate it to the presence of random errors. [4] (b) Explain how taking multiple readings and calculating an average can reduce the impact of random errors. [3]

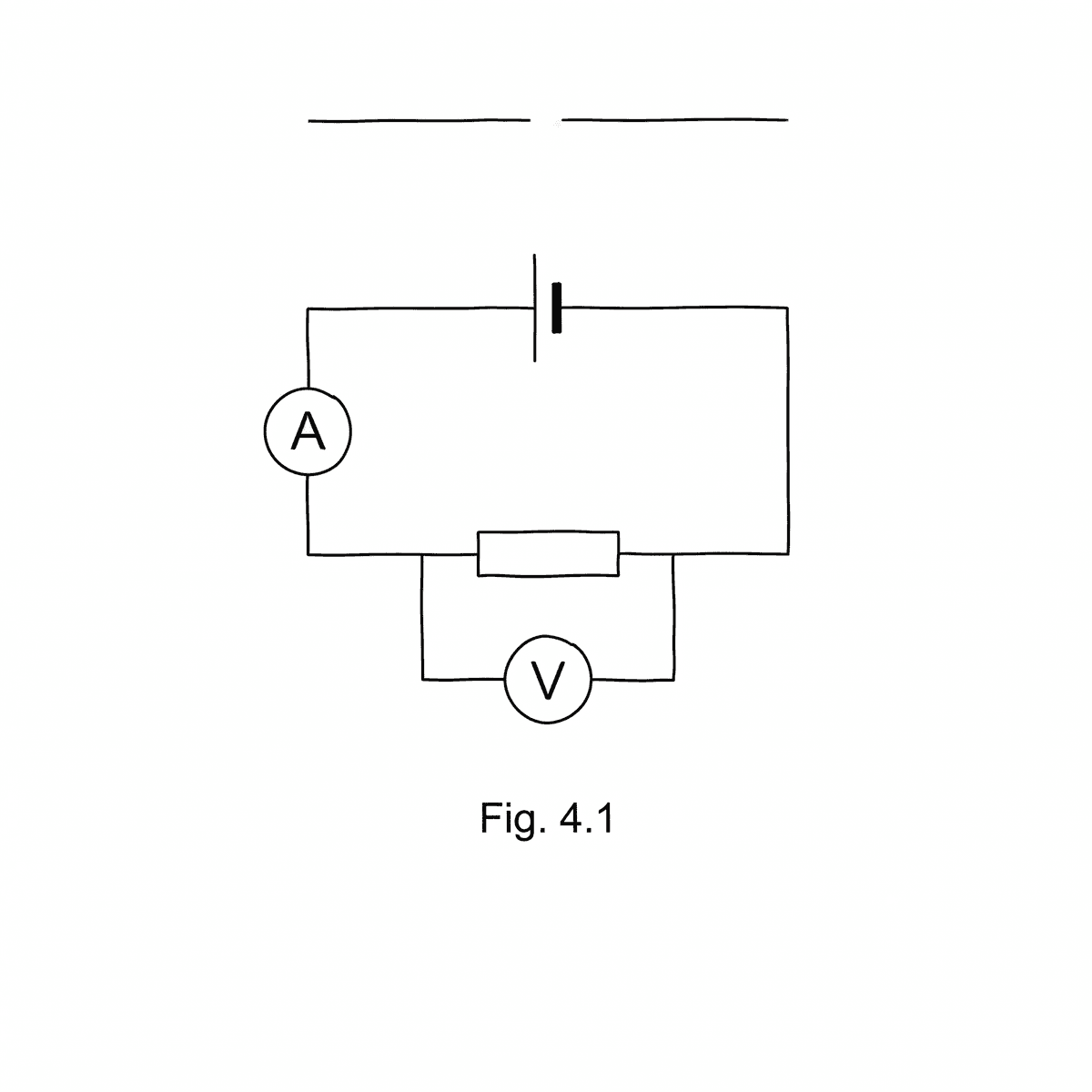
Fig. 4.1 shows a simple series electrical circuit containing a power supply, a resistor, an ammeter connected in series, and a voltmeter connected in parallel across the resistor. (a) Identify the SI base units for the resistance R in Fig. 4.1. [2] (b) Explain how the SI base units of resistance can be derived from Ohm's Law (V=IR) and the definition of power (P=VI). [3] (c) Calculate the resistance of the resistor shown, given the voltmeter reading is 6.0 V and the ammeter reading is 2.0 A, and state its units in terms of SI base units. [4]

A student measures the length of an object using a ruler. (a) State the absolute uncertainty for a measurement of 2.50 cm taken with a ruler graduated in millimetres. [2] (b) Calculate the percentage uncertainty for this measurement. [2]
A student measures the mass (m), diameter (d), and height (h) of a solid cylindrical block to determine its density (ρ). The measurements are recorded as: Mass, m = 150.0 ± 0.5 g Diameter, d = 2.00 ± 0.02 cm Height, h = 5.00 ± 0.05 cm (a) Calculate the absolute uncertainty in the density of the cylinder. [6] (b) Evaluate which measurement (mass, diameter, or height) contributes most to the overall percentage uncertainty in the density. [4]
In experimental physics, understanding the types of errors that can affect measurements is important for data analysis. (a) Define the term 'random error'. [2] (b) Give one example of a random error in an experiment measuring the period of a pendulum. [2]
Orders of magnitude are a powerful tool in physics for conceptual understanding and problem-solving, especially when dealing with quantities that span vast scales. (a) Discuss the utility of using orders of magnitude in physics, particularly when dealing with extremely large or small quantities. [5] (b) Compare the order of magnitude of the mass of an electron (approximately 9.11 x 10⁻³¹ kg) with the order of magnitude of the mass of a proton (approximately 1.67 x 10⁻²⁷ kg). [5]
Understanding the fundamental units of physical quantities is essential for checking the consistency of equations. (a) Determine the base units of force. [3] (b) The derived unit of power is the Watt (W). Show that the derived unit of power can be expressed in base units as kg m² s⁻³. [5]
In scientific communication, it is important to follow standard conventions for writing symbols and units. (a) State the correct symbol for the unit 'second'. [2] (b) Correct the following incorrect unit notation: '30 mS' if it refers to 30 metres. [2]
Fig 1.1 shows a graph of current (I) against voltage (V) for a resistor. (a) Analyse the unit conventions used on the axes in Fig 1.1 and identify any potential ambiguities if the units were not clearly labelled. [6] (b) Sketch a similar graph for a filament lamp, ensuring correct labelling of axes with appropriate symbols and units, following SI conventions. [5]

In physics, quantities are classified as either scalar or vector, which impacts how they are used in calculations. (a) Distinguish between scalar and vector quantities. [3] (b) Explain why electric current is typically treated as a scalar quantity, despite having a direction. [4]
A student is carrying out an experiment involving a length of wire and a spherical object. (a) Determine the absolute uncertainty in the length of a wire if its measured length is 120.0 ± 0.2 cm. [3] (b) Calculate the percentage uncertainty in the volume of a sphere with radius r = 3.50 ± 0.05 cm. The formula for the volume of a sphere is V = (4/3)πr^3. [6]
A student measures the dimensions of a rectangle. The length L is measured as 15.0 ± 0.1 cm and the width W is measured as 5.0 ± 0.2 cm. (a) Calculate the absolute uncertainty in the area of the rectangle. [5] (b) Compare the percentage uncertainty in the length and the width, and comment on which contributes more to the overall uncertainty in the area. [4]
A student is analysing different forces acting on an object. (a) Identify which of the forces shown is a vector quantity. [2] (b) Explain what information, besides magnitude, is conveyed by a vector quantity. [2] (c) Sketch a diagram showing the resultant force of two perpendicular forces, 3 N acting horizontally and 4 N acting vertically. [3]
Orders of magnitude are useful for making quick estimations and comparing very different scales in physics. (a) Estimate the order of magnitude of the time it takes for light to travel across a typical classroom (approximately 10 m). [3] (b) Calculate the order of magnitude of the volume of a human head, assuming it is roughly spherical with a radius of 10 cm. Show your working. [4]
When conducting experiments, it is crucial to understand the nature of errors that can affect measurements. (a) Describe the difference between a systematic error and a random error. [4] (b) Suggest how a systematic error can be identified and reduced in an experiment to measure the period of a pendulum. [4]
Fig. 1.1 shows an experimental setup for measuring the period of a simple pendulum. (a) Identify a possible systematic error in the setup shown in Fig. 1.1. [2] (b) Explain how this systematic error would affect the measured value. [3] (c) Suggest a method to reduce the effect of this systematic error. [3]

A student determines the density of a metal block in the laboratory. (a) Calculate the percentage uncertainty in the density of a metal block if its mass is measured as 250 ± 5 g and its volume is measured as 30.0 ± 0.5 cm^3. [6] (b) Discuss which measurement (mass or volume) contributes more significantly to the overall percentage uncertainty in the density. [4]
Two forces act perpendicularly on an object. (a) Calculate the magnitude of the resultant force when two perpendicular forces, 3.0 N and 4.0 N, act on an object. [4] (b) Determine the direction of the resultant force relative to the 3.0 N force. [4]
Forces and displacements are vector quantities. (a) Show, using a labelled vector diagram, how to find the resultant of two forces, F₁ and F₂, acting at an angle to each other. [4] (b) Calculate the resultant displacement of a person who walks 5.0 km East and then 12.0 km North. [4]
Standard conventions for symbols and units are crucial in physics. (a) Explain why it is important to follow standard conventions for symbols and units in scientific communication. [4] (b) Give two examples of common errors in writing unit symbols and their correct forms. [3]
The quality of a measurement is often described in terms of its precision and accuracy, which are influenced by the instrument used. (a) Describe how the precision of an instrument relates to the number of significant figures in a measurement. [4] (b) Suggest an appropriate instrument to measure a time interval of approximately 0.5 s with high precision. [3]
The Système Internationale (SI) defines a set of base units from which all other units are derived. (a) State two base SI units. [2] (b) Define what is meant by a derived unit and give one example. [3]
Fig. 3.1 shows a simple pendulum setup, with a mass suspended by a string from a clamp stand. The pendulum is shown oscillating. (a) Estimate the order of magnitude of the length of the pendulum in Fig. 3.1, given its period is approximately 2 seconds. [3] (b) Compare this estimated length with the order of magnitude of the height of a typical laboratory bench. [3] (c) Suggest why understanding orders of magnitude is important when designing experiments like the one shown. [3]

The SI system provides a coherent set of units. Some quantities have their own special names for their derived units. (a) Identify two derived quantities. [2] (b) Express the unit of energy, the Joule (J), in terms of base SI units. [4]
A projectile is launched from the ground with an initial velocity of 25 m s⁻¹ at an angle of 40° above the horizontal. (a) Calculate the horizontal and vertical components of the velocity of the projectile at launch. [5] (b) Find the magnitude of the projectile's velocity after 1.0 s, assuming negligible air resistance. [4]
Orders of magnitude provide a quick way to estimate the size of physical quantities without needing precise measurements. (a) State the order of magnitude of the typical height of an adult human in metres. [2] (b) State the order of magnitude of the typical mass of an apple in kilograms. [2]
In experimental physics, it is crucial to understand the difference between accuracy and precision when evaluating measurements. (a) Explain how systematic errors affect the accuracy of a measurement. [4] (b) State how random errors affect the precision of a measurement. [3]
A student is conducting an experiment to measure the resistance of a wire using a voltmeter and an ammeter. (a) Discuss the difference between systematic errors and random errors, giving an example of each in the context of measuring the resistance of a wire. [6] (b) Suggest methods to minimise the impact of both systematic and random errors in the resistance measurement. [4]
The power P dissipated in a resistor is given by the formula P = I²R, where I is the current and R is the resistance. The current I is measured as (2.00 ± 0.04) A and the resistance R is measured as (50.0 ± 1.5) Ω. (a) Show that the fractional uncertainty in the power P is given by (ΔR/R) + 2(ΔI/I). [4] (b) Calculate the percentage uncertainty in the power P. [4]